关于冻土层安全钻井技术专利集(10件),针对项目研究的创新成果,项目组人员申请了10件发明专利,主要专利内容描述:
(1)固井水泥浆低温稠化仪,实现室温环境下对水泥浆低温稠化性能的测试,防止低温水泥浆在室温下稠度测试过程中数据失真或过快凝固;
(2)负温固井水泥浆高速搅拌器,防止低温水泥浆搅拌过程中快速凝固,实现室温环境下对低温水泥浆的配制;
(3)土粉研磨筛分机,用于岩土力学实验制样用的小型土样研磨筛分机,其具有结构简单,操作方便,易清理等特点;
(4)固井水泥浆低温失水仪,有效解决负温环境下常规水泥浆由于液相分凝结冰导致水泥不固化无强度,低温冻土区固井质量差甚至完全无法进行固井作业的问题,满足冻土区固井施工需求;
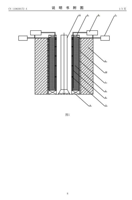
(5)冻土层钻井阻热防融装置,满足冻土区域中深井钻井对套管隔热的要求;
(6)冻土地区的固井方法,够在冻土层区域实现有效阻热,保证冻土以下地层钻进时冻土不发生冻融,确保固井安全;
(7)冻土岩芯制备装置和方法,通过对松散冻土施加不同的压制力以模拟不同的冻土层深度,经过反算可以确定土体的孔隙度、含水量、含水饱和度等一系列参数,得到正确合理的岩心土水比并制备饱和的冻土岩心。
| 采集时间 | 2016/07/01 - 2020/12/31 |
|---|---|
| 采集地点 | 北京市 |
| 数据量 | 3.9 MiB |
| 数据格式 | |
| 坐标系 |
自主研发。
通过对松散冻土施加不同的压制力以模拟不同的冻土层深度,经过反算可以确定土体的孔隙度、含水量、含水饱和度等一系列参数,得到正确合理的岩心土水比并制备饱和的冻土岩心。
数据质量较好。
| # | 编号 | 名称 | 类型 |
| 1 | 2016YFC0303300 | 极地冷海钻井关键技术研究 | 国家重点研发计划 |
本作品采用
知识共享署名
4.0 国际许可协议进行许可。
| # | 标题 | 文件大小 |
|---|---|---|
| 1 | _ncdc_meta_.json | 4.7 KiB |
| 2 | Data |
| # | 时间 | 姓名 | 用途 |
|---|---|---|---|
| 1 | 2023/03/06 18:28 | 范*彬 |
为加深对项目工作的了解,需要明确极地冷海的钻井环境及工艺
|
| 2 | 2022/12/16 19:59 | 褚*玲 |
山东大学油田化学,下载数据用于低温极地钻井液的研究
|
| 3 | 2022/09/20 06:19 | 肖*建 |
作为十四五国家科技规划重点,研究极地冷海钻井技术需要资料参考
|
©2024 中国科学院西北生态环境资源研究院 备案号:陇ICP备2021001824号-34
兰州市东岗西路320号 730000 电话:0931-4967592, 0931-4967596